Email: sales@jxtianyou.com | English
| Unit(单位):mm | |||||||||||||||||
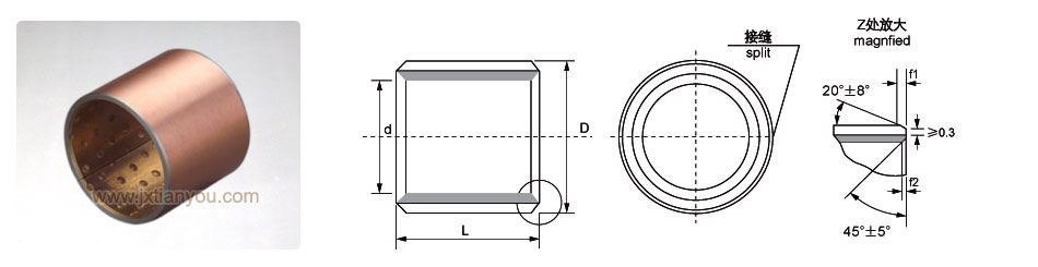
| d | D | Axle h8 |
Housing bore |
Installed bearing d |
Wall thickness | Oil hole |
f1 | f2 | L 0-0.40 | ||||||||
|---|---|---|---|---|---|---|---|---|---|---|---|---|---|---|---|---|---|
| Min. | Max. | 10 | 15 | 20 | 25 | 30 | 40 | 50 | 60 | ||||||||
| 10 | 12 | 10-0.022 | 12+0.018 | +0.148 +0.010 |
0.995 | 0.935 | 4 | 0.5 | 0.3 | 1010 | 1015 | 1020 | |||||
| 12 | 14 | 12-0.027 | 14+0.018 | 1210 | 1215 | 1220 | |||||||||||
| 14 | 16 | 14-0.027 | 16+0.018 | 1410 | 1415 | 1420 | |||||||||||
| 15 | 17 | 15-0.027 | 17+0.018 | 1510 | 1515 | 1520 | |||||||||||
| 16 | 18 | 16-0.027 | 18+0.018 | 0.8 | 0.4 | 1610 | 1615 | 1620 | |||||||||
| 18 | 20 | 18-0.027 | 20+0.021 | +0.151 +0.010 |
1810 | 1815 | 1820 | 1825 | |||||||||
| 20 | 23 | 20-0.033 | 23+0.021 | +0.181 +0.020 |
1.490 | 1.430 | 2010 | 2015 | 2020 | 2025 | |||||||
| 22 | 25 | 22-0.033 | 25+0.021 | 6 | 2210 | 2215 | 2220 | 2225 | |||||||||
| 24 | 27 | 24-0.033 | 27+0.021 | 1.0 |
0.5 | 2410 | 2415 | 2420 | 2425 | 2430 | |||||||
| 25 | 28 | 25-0.033 | 28+0.021 | 2515 | 2520 | 2525 | 2530 | ||||||||||
| 26 | 30 | 26-0.033 | 30+0.021 | +0.205 +0.030 |
1.980 | 1.920 | 2615 | 2620 | 2625 | 2630 | |||||||
| 28 | 32 | 28-0.033 | 32+0.025 | 2815 | 2820 | 2825 | 2830 | 2840 | |||||||||
| 30 | 34 | 30-0.033 | 34+0.025 | 1.2 | 0.6 | 3015 | 3020 | 3025 | 3030 | 3040 | |||||||
| 32 | 36 | 32-0.039 | 36+0.025 | 3215 | 3220 | 3225 | 3230 | 3240 | |||||||||
| 35 | 39 | 35-0.039 | 39+0.025 | 3520 | 3525 | 3530 | 3540 | 3550 | |||||||||
| 38 | 42 | 38-0.039 | 42+0.025 | 8 | 3820 | 3825 | 3830 | 3840 | 3850 | ||||||||
| 40 | 44 | 40-0.039 | 44+0.025 | 4020 | 4025 | 4030 | 4040 | 4050 | |||||||||
| Unit:mm | |||||||||||||||||
| d | D | Axle h8 |
H7 Housing bore |
Installed bearing d |
Wall thickness | Oil hole | f1 | f2 | L 0-0.40 | ||||||||
|---|---|---|---|---|---|---|---|---|---|---|---|---|---|---|---|---|---|
| Min. | Max. | 25 | 30 | 40 | 50 | 60 | 80 | 90 | 100 | ||||||||
| 45 | 50 | 45-0.039 | 50+0.025 | +0.205 +0.030 |
2.460 | 2.400 | 8 | 1.5 | 1.0 | 4525 | 4530 | 4540 | 4550 | ||||
| 50 | 55 | 50-0.039 | 55+0.030 | +0.210 +0.030 |
5030 | 5040 | 5050 | 5060 | |||||||||
| 55 | 60 | 55-0.046 | 60+0.030 | 5530 | 5540 | 5550 | 5560 | ||||||||||
| 60 | 65 | 60-0.046 | 65+0.030 | 6030 | 6040 | 6050 | 6060 | ||||||||||
| 65 | 70 | 65-0.046 | 70+0.030 | 6530 | 6540 | 6550 | 6560 | ||||||||||
| 70 | 75 | 70-0.046 | 75+0.030 | 7030 | 7040 | 7050 | 7060 | 7080 | |||||||||
| 75 | 80 | 75-0.046 | 80+0.030 | 9.5 | 7530 | 7540 | 7550 | 7560 | |||||||||
| 80 | 85 | 80-0.046 | 85+0.035 | +0.215 +0.030 |
8040 | 8050 | 8060 | 8080 | |||||||||
| 85 | 90 | 85-0.054 | 90+0.035 | 8530 | 8550 | 8560 | 8580 | 85100 | |||||||||
| 90 | 95 | 90-0.054 | 95+0.035 | 9050 | 9060 | 9080 | 90100 | ||||||||||
| 95 | 100 | 95-0.054 | 100+0.035 | 9560 | 9580 | 9590 | 95100 | ||||||||||
| 100 | 105 | 100-0.054 | 105+0.035 | 10060 | 10080 | 10090 | 100100 | ||||||||||
| 105 | 110 | 105-0.054 | 110+0.035 | 10560 | 10580 | 105100 | |||||||||||
| 110 | 115 | 110-0.054 | 115+0.035 | 11060 | 11080 | 110100 | |||||||||||
| 115 | 120 | 115-0.054 | 120+0.035 | 11550 | 11580 | ||||||||||||
| 120 | 125 | 120-0.054 | 125+0.040 | +0.220 +0.030 |
12050 | 12060 | 120100 | ||||||||||
| 125 | 130 | 125-0.063 | 130+0.040 | 125100 | |||||||||||||
| 130 | 135 | 130-0.063 | 135+0.040 | 13060 | 130100 | ||||||||||||
| 135 | 140 | 135-0.063 | 140+0.040 | 13560 | 13580 | ||||||||||||
| 140 | 145 | 140-0.063 | 145+0.040 | 14060 | 14080 | 140100 | |||||||||||
| 150 | 155 | 150-0.063 | 155+0.040 | 15060 | 15080 | 150100 | |||||||||||
W3C HTML | W3C CSS | 返回页面顶端